皇冠体育

皇冠体育博彩
产品指南
ZGQ-11 雷击计数器
概述                                                                                
ZGQ-11型雷击计数器用于雷电波形的电流幅值记录。该产品采用电流感应原理,记录幅值在0.3kA~40kA 范围的雷电流,并输出一个干接点信号供用户接入其它设备。

使用环境             
项目 规定值
工作电源 DC 24 V ± 10 %
温度 -40 ℃~+80 ℃
相对湿度 5 %~95 %
气压和海拔 62 kPa~106 kPa,-500 m~4000 m

安装环境                                                                            
ZGQ-11型雷击计数器安装于SPD外部,与SPD导体连接,只能用于室内安装。

产品配置                                                                       
名称 数量 单位 备注
标准配置
ZGQ-11雷击计数器 1
雷电流传感器 1
性能指标 
项目 规定值
幅值测量范围 阈值电流 Itc(8/20 μs) 300 A
最大计数放电电流
Imcw(8/20 μs)
40 kA
输出信号功能 当设备监测到一次雷击时,干接点信号由常开变为常闭
输出计数干接点信号保持时间 ≥ 500 ms
供电方式 外接电源(DC 24 V±10%)
外壳 阻燃 V0 级
安装方式 标准35mm 轨道安装本体,将地线穿过传感器,并将传感器固定好;将并将与计数器本体连接好即可
系统平均功耗 ≤ 1W
防护等级 IP 40

执行标准                                                                             
Q/75875187-9·7—2016 雷电监测系统。
IEC 62561-6-2018皇冠体育博彩系统组件(LPSC).第6部分:雷击计数器(LSC)要求。
 
工作原理                                                                             
ZGQ-11 雷击计数器的电感探头安装在雷电流通过的导线上(一般为地线),当雷电流到来一次,电感探头采集雷电电流信号,将电流信号转化为电压信号,经信号处理送入单片机,记录一次雷电流,并将该雷电流计数信号通过干接点传输至用户,且该信号保持时间≥500ms。
 
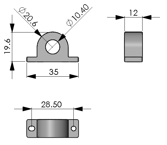
外形尺寸                                                                             
 
输入输出端口说明           
名称 功能
DC24V + 直流24V输入正极
- 直流24V输入负极
Lightning current 传感器输入端
NO 干接点信号输出端口1
COM 干接点信号输出端口2


专业的中文博彩网站 世界杯买球 澳门美高梅博彩官网 威尼斯人娱乐城 澳门银河娱乐城